Неисправности цепной передачи. методы ремонта
2 мая 2018 0:00
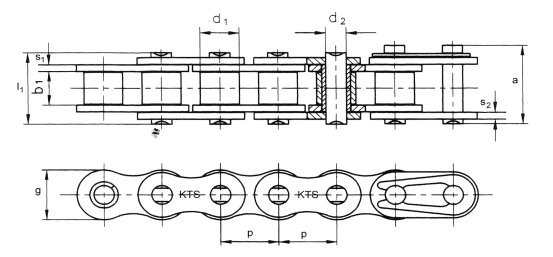
Новинка: не обслуживаемые (самосмазывающиеся) цепи
29 июня 2017 0:00
Новинка: анализатор состояния цепи iwis
1 июня 2017 0:00
Назначение цепей. какая для твоего привода нужна цепь?
1 мая 2018 0:00
Правильная функция цепной передачи. смазка приводной цепи
2 мая 2018 0:00

